Spapump LX Whirlpool JA50, med AMP Kontakt
Cirkulationspumpen LX Whirlpool JA50 lanserades för bara 10 år sedan, men har redan blivit en av de mest använda cirkulationspumparna i branschen. Det används (ibland under andra namn) av spatillverkare på alla kontinenter. Denna pump är till exempel en perfekt ersättning för Spanet XS-3C.
Anslutningar
Gängdiameter: 62 mm (1½" MBT).
Pumpkopplingar och o-ringar för 1½" rör medföljer.
Levereras förkablad med en AMP-kontakt (längd 130 cm).
Egenskaper
Effekt: 370W - 0,5HP
Hastighet: 2850 rpm
Maximalt flöde: 180 liter/minut
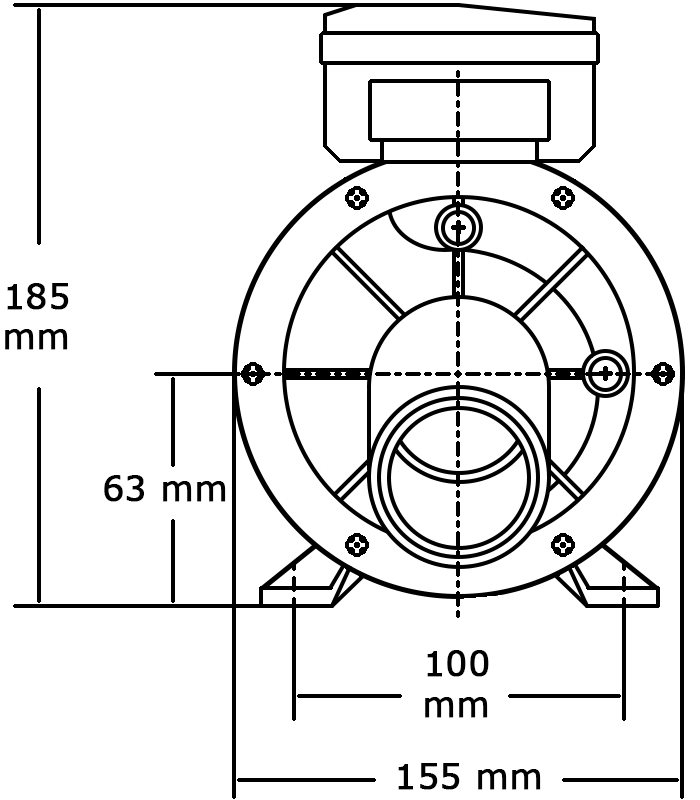
Dimensioner

Mått i bilden: pumpens totala höjd 185 mm; pumpens bredd 155; markfästets bredd 100mm; höjden från marken till pumpens mitt 63 mm.
Mått i bilden: pumpens totala längd 315 mm; höjd från marken till anslutning 1; djup från anslutning 1 till anslutning 2.
Alternativt artikelnummer för produkten
Volition: 5AJCertifikat
- CCC Säkerhetscertifikat- CE-certifikat EU
- TUV-certifikat Tyskland
- SAA-certifikat Australien
- RoHS-godkännande
2 års garanti







