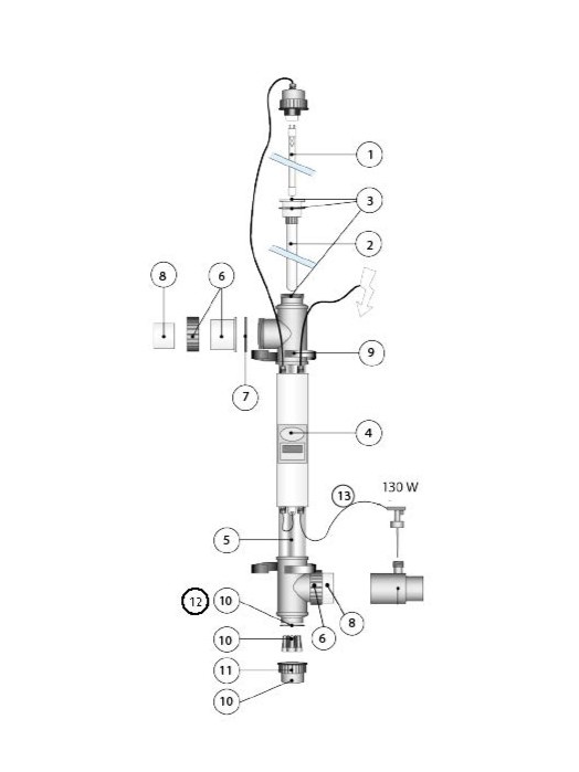
Reservdelar till Gullberg & Janssons UV-C 75 & 130
| I Bilden | Artikelnummer | Namn |
| 1. | 7111001 | Extralampa 75W T5 Lighttech |
| Säljs separat här | ||
| 1. | 7111002 | Extralampa 130W T6 Lighttech |
| Säljs separat här | ||
| 2. | 7111003 | Kvartsglas 933 x 25 mm UV-C 75 |
| 2. | 7111004 | Kvartsglas 920 x 30 mm UV-C 130 |
| 3. | 7111005 | O-ring till UV-C kvartsglas, 3-pack |
| Säljs separat här | ||
| 6. | 7111010/E800940 | Komplett Union till UV-C, 2-pack |
| Även tillgängliga i blått här | ||
| 7. | 7111011 | O-ring till UV-C Union, 2-pack |
| Säljs separat här | ||
| 8. | 7111012 | Limadapter 1,5" x 50/63mm till UV-C |
| Säljs separat här | ||
| 9. | 7111013 | Vägghållare 75 mm |
| 10. | 7111014 | Kvartsglas stabilisator-kit |
| 11. | 7111016 | Plastmutter 70 x 33,5mm |
| 12. | 7111017 | O-ring till ändmutter |














